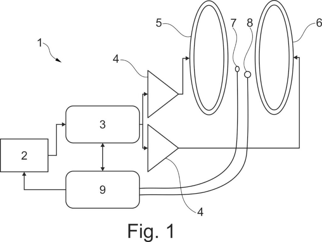
L’invention concerne un procédé de localisation d’un ensemble de mesure de champ magnétique comprenant au moins un capteur magnétorésistif et/ou un capteur à effet Hall, comportant les étapes consistant à :a/ générer, au moyen d’un dispositif de génération de champ électromagnétique (1), un champ magnétique d’amplitude et/ou de forme variable(s) de sorte que la position d’une valeur prédéterminée de l’amplitude du champ magnétique varie le long d’au moins deux directions (X, Y) à des fréquences différentes ; b/ mesurer le champ magnétique selon chacune des directions à la fréquence correspondant à chaque direction au moyen de l’ensemble de mesure de champ magnétique ; c/ lorsque l’ensemble de mesure de champ magnétique détecte la valeur prédéterminée du champ magnétique le long de chacune des directions, déterminer la position de l’ensemble de mesure de champ magnétique. Figure pour l’abrégé : Fig. 1

Contact: Myriam Pannetier-Lecoeur, Claude Fermon, Aurélie Solignac (SPEC/LNO)
System and method for suppressing low-frequency magnetic noise from magneto-resistive sensors
The invention relates to a system (111, 112, 113) for suppressing low-frequency magnetic noise from magneto-resistive sensors, the system comprising: – at least one magneto-resistive sensor (101) comprising a free magnetic layer having a variable magnetisation; – means (102, 104, 105, 106) for modifying the magnetisation of the free magnetic layer; the system (111, 112, 113) for suppressing low-frequency magnetic noise being characterised in that the means (102, 104, 105, 106) for modifying the magnetisation of the free layer are adapted to drive a magnetisation dynamic of the free magnetic layer.

Contact: Myriam Pannetier-Lecoeur, Claude Fermon, Aurélie Solignac (SPEC/LNO)


