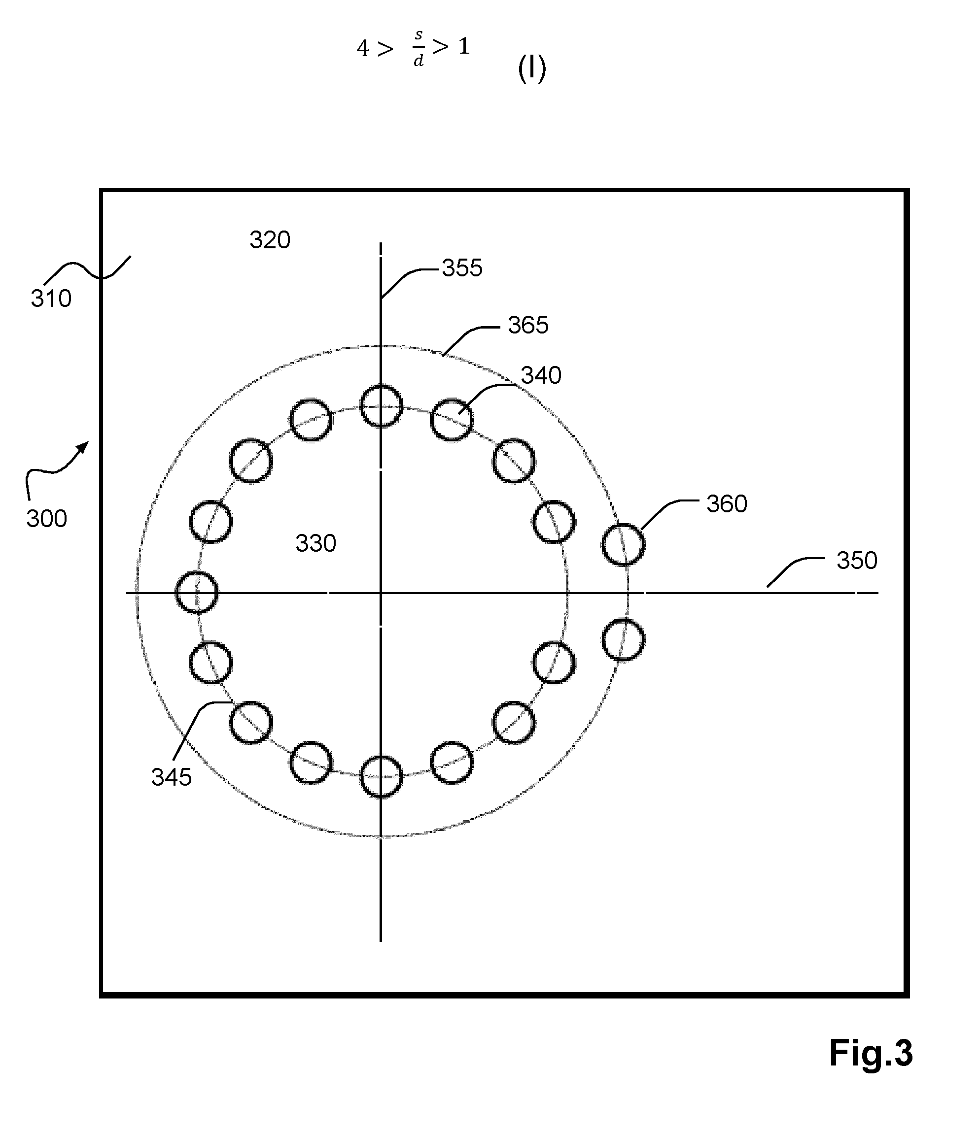
Dispositif à microondes supraconducteur pour l’hébergement de qubits comprenant un substrat sensiblement plan (310, 710, 1110) revêtu d’un métal supraconducteur, dans lequel ledit substrat sensiblement plan (310, 710, 1110) comprend une pluralité de trous débouchants (340, 740, 1140), ladite pluralité de trous débouchants étant agencée pour définir un premier contour (345, 745, 1145) qui divise ledit substrat sensiblement plan (310, 710, 1110) en une portion de résonateur (330, 730, 1130) enfermée dans ledit premier contour (345, 745, 1145) et une portion d’usinage (320, 720, 1120) comprenant une zone de maintien pour maintenir ledit dispositif qubit supraconducteur (300, 700, 1100) pendant le revêtement métallique supraconducteur de substrat sensiblement plan, lesdits trous débouchants (340, 740, 1140) étant agencés autour dudit premier contour (345, 745, 1145) de sorte que (I) s est l’espacement inter-trous et d est le diamètre de trou débouchant.
Contact CEA-Iramis : Emmanuel Flurin (SPEC/GQ), Alexandre May (SPEC/GQ) et Alice & Bob).

Superconducting microwave device for hosting qubits
A superconducting microwave device for hosting qubits comprises a substantially planar substrate (310, 710, 1110) coated with a superconducting metal, wherein said substantially planar substrate (310, 710, 1110) comprises a plurality of through-holes (340, 740, 1140), said plurality of through-holes being arranged to define a first contour (345, 745, 1145) which divides said substantially planar substrate (310, 710, 1110) into a resonator portion (330, 730, 1130) enclosed within said first contour (345, 745, 1145) and a machining portion (320, 720, 1120) comprising a holding area for maintaining said superconducting qubit device (300, 700, 1100) during the substantially planar substrate superconducting metal coating, said through-holes (340, 740, 1140) being arranged about said first contour (345, 745, 1145) such that (I) where s is the inter-through-hole spacing and d is the through-hole diameter.
Contact CEA-Iramis: Emmanuel Flurin (SPEC/GQ), Alexandre May (SPEC/GQ) et Alice & Bob).



