The invention relates to a vacuum evaporation deposition device (30) comprising:
- a deposition housing or enclosure;
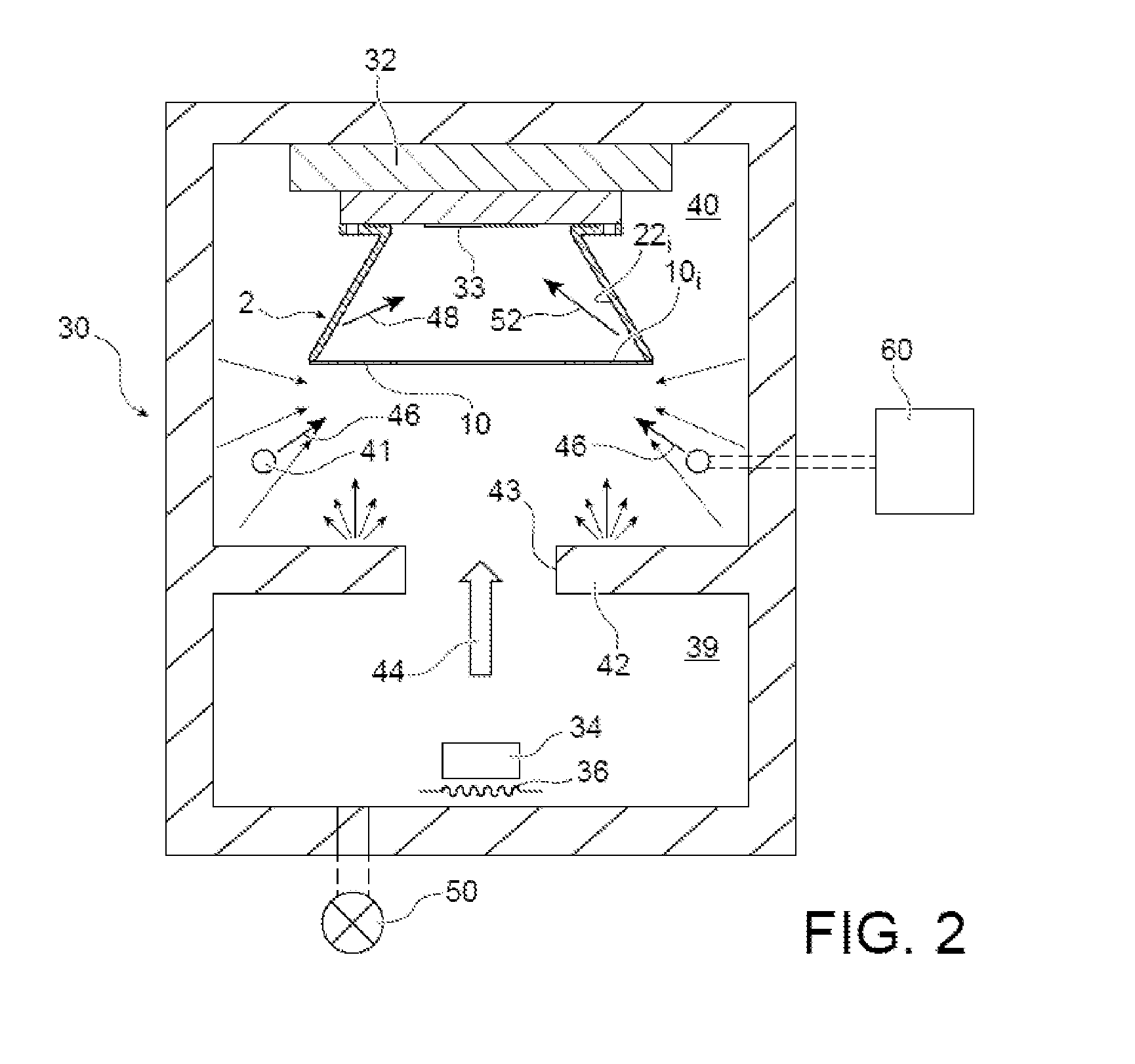
- a deposition support (32);
- evaporation means (36) for evaporating a material towards the deposition substrate (32);
- reactive gas injection means (41) for injecting a reactive gas into the chamber;
- means forming a cover (2) around the deposition substrate, extending from the deposition support,
the axis XX’ forming an axis of rotational symmetry perpendicular to the surface of the deposition support and centred thereon, the reactive gas injection means (41) comprising a duct provided with a plurality of openings for injecting a reactive gas with an initial momentum distribution that is rotationally symmetrical about the axis XX’.
Contact CEA-Iramis: Hélène Le Sueur, Philippe Joyez, Pascal Senat, Brian Calmels (SPEC/GQ),

Procédé et dispositif pour l’homogénéisation d’un flux de gaz incident sur une surface dans une enceinte à vide
L’invention concerne un dispositif (30) de dépôt par évaporation sous vide, comportant :
- une enceinte ou un bâti de dépôt;
- un support (32) de dépôt;
- des moyens (36) d’évaporation, pour évaporer un matériau en direction du substrat (32) de dépôt;
- des moyens (41) d’injection de gaz réactif, pour injecter un gaz réactif dans l’enceinte;
- des moyens formant un cache (2) autour du substrat de dépôt, s’étendant depuis le support de dépôt,
l’axe XX’ formant un axe de symétrie de révolution perpendiculaire à la surface du support de dépôt et centré en celle-ci, les moyens (41) d’injection de gaz réactif, comportant un conduit muni de plusieurs orifices qui permettent d’injecter un gaz réactif avec une distribution de moments initiaux possédant une symétrie de révolution autour de l’axe XX’.
Contact CEA-Iramis : Hélène Le Sueur, Philippe Joyez, Pascal Senat, Brian Calmels (SPEC/GQ),



