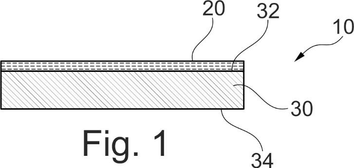
The invention relates to a membrane (10) comprising: a porous support (30) comprising two opposite main surfaces (32, 34), a selective ion transfer layer (20) comprising sheets (22) of a nanomaterial extending on one of the two main surfaces (32, 34) of the porous support, the nanomaterial being of formula: XMP2O1 4 M being of formula As3(1-y-z) Sb3yBi3z, wherein y and z are numbers varying from 0 to 1 with y + z lower than or equal to 1, X being of formula H3(1-x) A3x, A being an alkali, an ammonium cation or a cation derived from a water-soluble hydroxide salt or a mixture thereof, x being a number varying from 0 to 1.

Contact CEA/Iramis: Jean Christophe Gabriel (NIMBE/LICSEN).
Membrane et procédé de transfert ionique sélectif
L’invention concerne une membrane (10) comportant : un support poreux (30) comportant deux surfaces principales opposées (32, 34),une couche de transfert ionique sélectif (20) comportant des feuillets (22) d’un nanomatériau s’étendant sur une des deux surfaces principales (32, 34) du support poreux, le nanomatériau étant de formule : XMP2O1 4 M étant de formule As3(1-y-z)Sb3yBi3z ,, y et z étant des nombres variant de 0 à 1 avec y+z inférieur ou égal à 1, X étant de formule H3(1-x)A3x, A étant un alcalin, un cation ammonium ou un cation issu d’un sel d’hydroxyde soluble dans l’eau ou un de leurs mélanges, x étant un nombre variant de 0 à 1.

Contact CEA/Iramis : Jean Christophe Gabriel (NIMBE/LICSEN).


