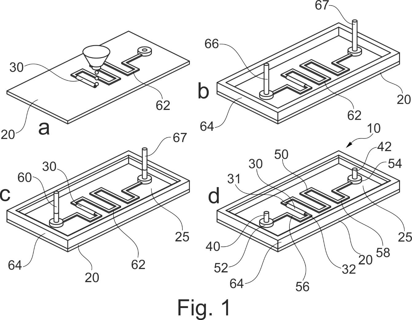
The invention relates to a method for manufacturing a device (10) for the circulation of a fluid on at least one fluid circulation path passing through a hollow or porous solid element (30) and at least part of a fluidic circuit (50) fluidically connected to each other, the method comprising the following steps: printing on a support the trace (62) of the fluidic circuit (50) with an ink and arranging on the support the solid element (30), the ink being contiguous with the solid element (30) on the fluidic circulation path, covering the solidified ink and the solid element (30) with a crosslinkable polymer (25), the polymer (25) being immiscible with the solidified ink; cross-linking the polymer (25) to solidify it; and puisextrates the solidified ink to form the fluid circulation path.
Contact CEA-Iramis : Laurent Mugherli, Marc Maleval, Florent Malloggi (NIMBE/LIONS).

Procédé de fabrication d’un dispositif fluidique comportant un substrat portant au moins un élément solide poreux ou creux
L’invention concerne un procédé de fabrication d’un dispositif (10) pour la circulation d’un fluide sur au moins un chemin de circulation fluidique passant à travers un élément solide creux ou poreux (30) et au moins une partie d’un circuit fluidique (50) reliés fluidiquement entre eux, le procédé comprenant les étapes suivantes : imprimer sur un support la trace (62) du circuit fluidique (50) avec une encre et disposer sur le support l’élément solide (30), l’encre étant jointive de l’élément solide (30) sur le chemin de circulation fluidique, recouvrir l’encre ayant solidifiée et l’élément solide (30) avec un polymère réticulable (25), le polymère (25) étant non-miscible avec l’encre solidifiée;réticuler le polymère (25) pour le solidifier; puisextraire l’encre solidifiée pour former le chemin de circulation fluidique.
Contact CEA-Iramis : Laurent Mugherli, Marc Maleval, Florent Malloggi (NIMBE/LIONS),



