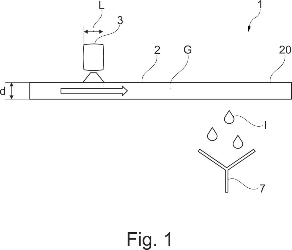
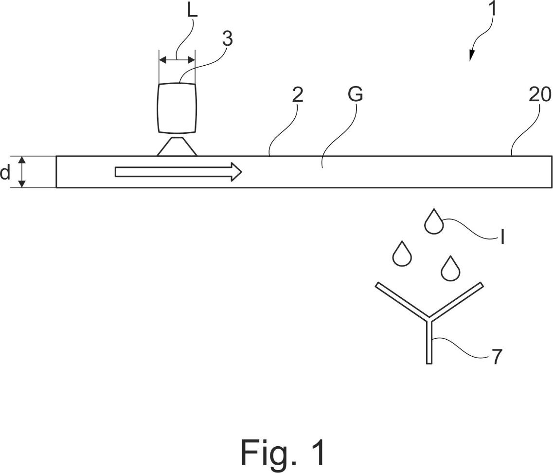
A method for purifying a gas by radiolysis of impurities contained in the gas, the method comprising irradiating the gas with at least one electromagnetic and/or particulate radiation, the energy carried by at least one, preferably each, particle of the radiation being less than or equal to 300 keV. Figure for the abstract: Fig. 1

Contact: Jean-Philippe Renault, Marie Géléoc (NIMBE/LIONS).
Procédé de purification d’un gaz
Procédé de purification d’un gaz par radiolyse des impuretés contenues dans le gaz, le procédé comportant l’irradiation du gaz par au moins un rayonnement électromagnétique et/ou particulaire, l’énergie portée par au moins une, de préférence chaque, particule du rayonnement étant inférieure ou égale à 300 keV. Figure pour l’abrégé : Fig. 1

Contact : Jean-Philippe Renault, Marie Géléoc (NIMBE/LIONS).


