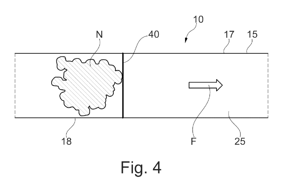
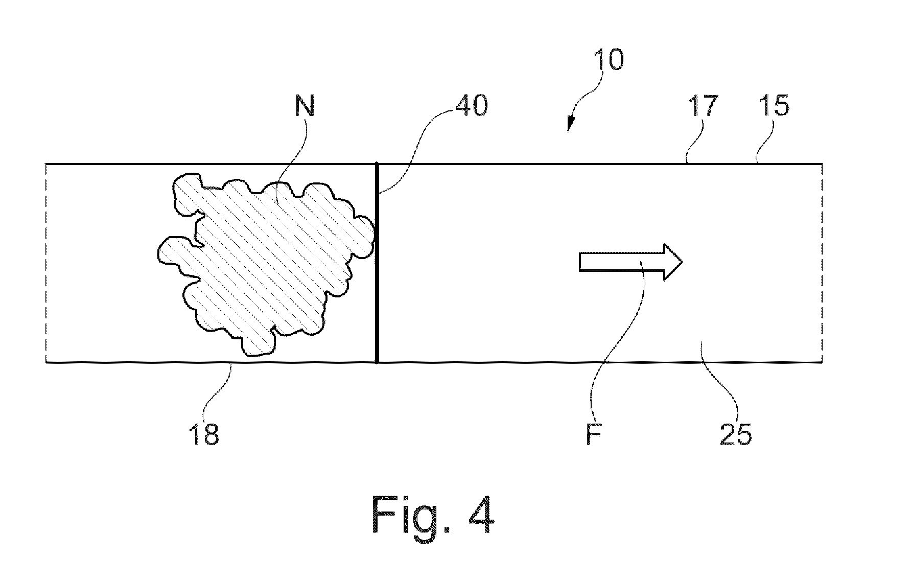
The invention relates to a cell culture device (10, 10a, 10b) comprising – a culture chamber (15, 15a; 15b) comprising a cell culture medium (25), – a plurality of cell culture supports (30, 30a; 30b) present in the cell culture medium (25) contained in the culture chamber (15, 15a; 15b), the cell culture supports (30, 30a; 30b) having a density different from that of the cell culture medium (25) such that these cell culture supports (30, 30a; 30b) are located at an interface (27) at least constituted on one side by the cell culture medium (25), at least one of the cell culture supports (30, 30a; 30b) carrying adherent cells (C), and – a system for moving the cell culture supports (30, 30a; 30b) along the interface (27).

Contact: Jean-Philippe Renault (NIMBE/LIONS).
Dispositif et procédé de culture cellulaire
L’invention concerne un dispositif (10, 10a, 10b) de culture cellulaire comportant – une chambre de culture (15, 15a; 15b) comportant un milieu de culture cellulaire (25), – une pluralité de supports de culture cellulaire (30, 30a; 30b) présents dans le milieu de culture cellulaire (25) contenu dans la chambre de culture (15, 15a; 15b), les supports de culture cellulaire (30, 30a; 30b) ayant une densité différente de celle du milieu de culture cellulaire (25) de sorte que ces supports de culture cellulaire (30, 30a; 30b) se localisent au niveau d’une interface (27) au moins constituée d’un côté par le milieu de culture cellulaire (25), l’un au moins des supports de culture cellulaire (30, 30a; 30b) portant des cellules adhérentes (C), et – un système de déplacement des supports de culture cellulaire (30, 30a; 30b) le long de l’interface (27).

Contact : Jean-Philippe Renault (NIMBE/LIONS).


