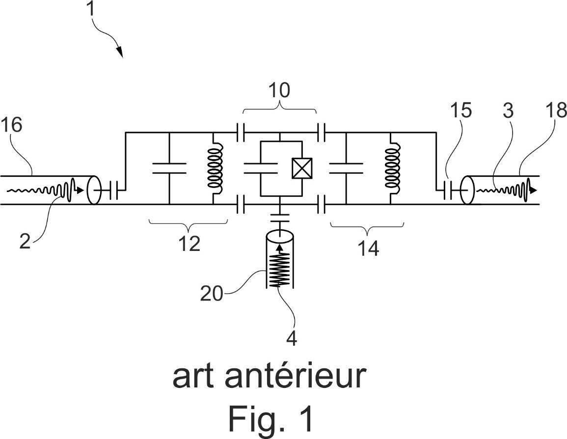
A device (100, 100 ‘) for detecting a single microwave photon (2) comprising a plurality N of qubits (Q1,…, QN) with two energy levels coupled in series by a number (N-1) of bus resonators Rj, an input resonator (R1) coupled to the first qubit Q1, an output resonator (RN +1) coupled to the N-th qubit QN, a number N of reading systems (10) each coupled to one of the N qubits and a number N of parametric pumping transmission lines (20) each configured to transmit a pump tone to one of the N qubits and/or to one of the input, output or bus resonators, such that a photon of a resonator Ri and a determined frequency pump tone can be converted into an excitation of the qubit Qi and a photon of the resonator Ri +1. Figure for the abstract: Fig. 2

Contact CEA-Iramis : Emmanuel Flurin (SPEC/GQ), Alexandre May (SPEC/GQ) et Alice & Bob).
Dispositif de détection de photons micro-ondes uniques comportant une pluralité de bits quantiques en série
L‘invention concerne un dispositif (100, 100’) de détection d’un photon micro-onde unique (2) comprenant une pluralité N de bits quantiques (Q1, …, QN) à deux niveaux énergétiques couplés en série par un nombre (N-1) de résonateurs bus Rj ,un résonateur d’entrée (R1) couplé au premier bit quantique Q1, un résonateur de sortie (RN+1) couplé au N-ième bit quantique QN, un nombre N de systèmes de lecture (10) chacun couplé à l’un des N bits quantiques et un nombre N de lignes de transmission de pompage paramétrique (20) chacune configurée pour transmettre un ton de pompe à l’un des N bits quantiques et/ou à l’un des résonateurs d’entrée, de sortie ou bus, de sorte qu’un photon d’un résonateur Ri et un ton de pompe de fréquence déterminée puissent être convertis en une excitation du bit quantique Qi et un photon du résonateur Ri+1. Figure pour l’abrégé : Fig. 2

Contact CEA-Iramis: Emmanuel Flurin (SPEC/GQ), Alexandre May (SPEC/GQ) et Alice & Bob).


